テクニカルエンジニア(ネットワーク)過去出題問題平成7年 午後2 問1最終更新日 2004/01/24
|
| Tomのネットワーク勉強ノート |
| |
| |
| |
問1
TCP/IPを利用するコンピュータネットワークの再構築に関する次の記述を読んで、設
問1〜5に答えよ。
電機メーカの研究・開発部門であるS部は、20人規模の五つの課(S-1課〜S-5課)から
なり、全課が同一階にある。S部のネットワークは、各課を結ぶS部内のバックボーンLAN
と、これに接続する各課の課内LANやS部の共通ファイルサーバ(FS)から構成され、高
速ディジタル回線を介して全社ネットワークと結ばれている。課内LANには、各課所有の
ワークステーション(WS)が接続されている。
S部のネットワークは、敷設から5年以上が経過し、その間、WSの設置台数や能力の増
加などが原因で、ネットワークを流れるデータ量の増加が著しい。そこで、ネットワーク全
体の更新を行うこととし、第一段階として、全課が利用するバックポーンLANの更新を実
施した。
実施に当たっては、S部のネットワークを管理するS-5課が中心になって作業を進めた。
電新時のバックボーンLANの切替時期と方法を決めるために、各課の更新前のネットワ
ークの利用形態を調査した。表1に、各課の主な業務内容とWS、バックボーンLANの主な
利用形態を示す。この結果から、全課一斉に切り替えるのではなく、新旧二つのバックボー
ンLANを併用する期間を設け、この期間に各課ごとに移行することにした。業務になるべ
く支障を与えない時期を選んで、各課ごとに移行させるためである。
更新後は、バックボーンLANの帯域に十分な余裕ができたので、S-3課で開発している
会議システムの本格利用をS部の全課で開始した。このシステムは、1会議当たり300kバイ
ト/秒程度の帯域を占有する。
表1 各課の業務内容とWS、パックボーンLANの利用形態
| 課 名 | 主な業務内容 | 上段…WSの主な利用形態 |
| 下段…バックボーンLANの主な利用形態 | ||
| 全課共通 | 日常業務 | |
| FS上にあるファイルの利用 |
||
| S-1課 | 電子機器の開発 | CADを用いた電子機器の設計 |
| CADデータを平日の夜間に他部へバッチ転送 | ||
| S-2課 | 業務処理プログラムの開発 | 各種プログラムのコーディングとデバッグ |
| 部内外関連部署へ勤務時間中にかなりの頻度でプログラム を転送 |
||
| S-3課 | マルチメディアシステム の開発 |
WSを用いたマルチメディア会議システムの開発 |
| 部内各課との間で会議システムを実験運用 | ||
| S-4課 | 計算機システム の基礎研究 |
シミュレーション |
| 日常業務以外、特に使用しない | ||
| S-5課 | S部のスタッフ業務、 計算機、 ネットワークの |
勤務状況、発注、経理などのスタッフ業務処理 S部のネットワーク、WSやFSの運用と管理 |
| 本社との勤務状況、発注、経理などのデータ転送 FS上にあるスタッフ部門用データベースの利用 |
【S部のネットワーク構成について】
(1)更新前のS部のネットワーク構成
更新前のS部のネットワーク構成の概要を図1に示す。
バックボーンLANは、伝送速度10Mビット/秒のCSMA/CD方式であり(以下、
CC-LANという)、10BASE5のケーブルを用いて各課を結んでいる。10BASE5のケ
ーブルは、各課を結ぶ廊下の上方の天井近くに配線されている。途中3か所にトラン
シーバ(MAU)が設置され、そこからトランシーバケーブルやマルチポートトラン
シーバ(MT)を経て、各課の室内に置くルータ(R-1〜R-3)と接続されている。
ルータは、原則として二つの課で1台を共有した構成になっている。FSは専用の部屋
に置かれ、ルータと同様に接続されている。
各課の課内LANは、10BASE-Tのリピータハブ(ハブ)を用いたカスケード構成の
LANであり、各自の机上に置かれた個人専用のWSをスター状に接続している。このハ
ブには、CSMA/CDフレームのフィルタリング機能はない。
(2)更新後のS部のネットワーク構成
更新後のS部のネットワーク構成の概要を図2に示す。
CC-LANの10BASE5のケーブルの敷設経路に沿ってFDDI用の光ファイバケーブル
を敷設して、伝送速度100Mビット/秒のFDDI方式のLAN(以下、FDDI-LANとい
う)をバックボーンLANとする。原則として2課に1台の割合で、新規にFDDIルー
タ(R-11〜R-13)を置き、各課の課内LANのハブと接続する。各FDDIルータには、
FDDI方式のLAN用の接続端子が一組と、CSMA/CD方式のLAN用の接続端子が二つ
ある。R-13には、更に、回線接続装置(DSU)を介して、高速ディジタル回線に接
続するためのシリアルラインインタフェース用の端子が一つある。
課内LANの構成は変えない。FSには、FDDIインタフェースカードを増設し、
FDDI-LANと直結させた。
S-5課では、ネットワーク管理プロトコルを利用したネットワーク監視システムを
用いて、S部ネットワークの監視を行っている。
(3)全社ネットワークとの接続(更新前後で共通)
シリアルラインインタフェースをもつルータ(R-3又はR-13)を利用して、本社
管理の全体ネットワークと接続している。接続には、64kビット/秒の高速ディジタ
ル回線を用いている。
(4)S部共通ファイルサーバ(FS)(更新前後で共通)
各課内で共通なファイル及び部内で共通なファイルは、FSに蓄積されている。各課
ユーザはこれらの共通なファイルも、それ以外のファイルと同じインタフェースで利
用できる。また、FSはS部の電子メールシステム、電子掲示板システム及びスタッフ
部門用のデータベースシステムなどの処理を行っている。
併用期間中、FSはCC-LANとFDDI-LANの両方から接続できる。
毎週日曜に、FSに保管されたデータのバックアップが取られる。一部の重要なファ
イルは、災害時の安全対策として、地理的に離れた他部著にあるファイルサーバヘ全
社ネットワーク経由で送信される。
それ以外の個人ファイルなどは、各課のWSに蓄積されている。

図1 更新前のS部ネットワーク構成概要(平面図)

図2 更新後のS部ネットワーク構成概要(平面図)
【アドレス体系とルーティングについて】
(1)IPアドレスの割当て
ネットワークプロトコルとして、TCP/IPを利用している。
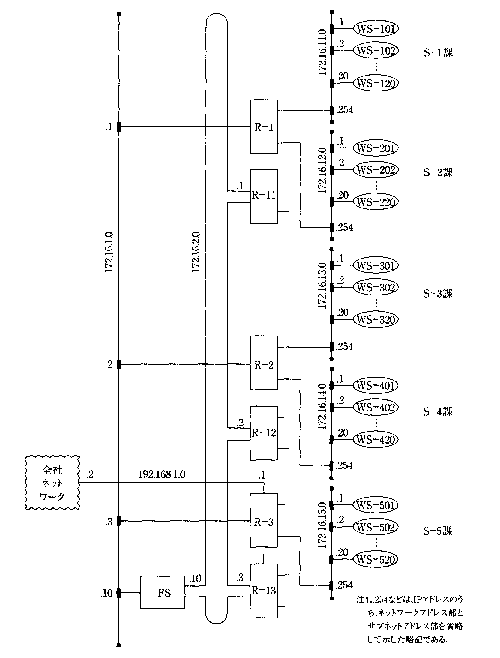
S部全体にクラスBのIPアドレスである172.16.0.0が一つ割り当てられている。IPアド
レスの上位24ビットをネットワークアドレス部とサブネットアドレス部とし、各課の
課内LAN、CC-LAN及びFDDI-LANに割り当てた(図4参照)。全社ネットワーク
との間のLAN間接続用に、クラスCのIPアドレスである192.168.1.0を利用している。
(2)IP層のルーティングについて
WS、ルータ及びFSは、各機器内に保持するルーティングテーブルの設定に従って、
IPパケットを送信又は中継する。
@ ルーティングテーブルの構成
IP層のルーティングテーブルのフォーマットと設定を、移行前のS-5課のWS
(WS-501)とルータ(R-1)を例として表2に示す。
表2 ルーティングテーブルの設定例
| 機器名 | あて先 IPアドレス |
接続形態 (D/R) |
アドレス |
インタフェース IPアドレス |
| WS-501 | 172.16.15.0 | D | 172.16.15.254 | 172.16.15.1 |
| 0.0.0.0 | R | 172.16.15.1 | ||
| R-1 | 172.16.1.0 | D | 172.16.1.1 | |
| 172.16.11.0 | D | 172.16.11.254 | ||
| 172.16.12.0 | D | 172.16.12.254 | ||
| 172.16.13.0 | R | 172.16.1.2 | 172.16.1.1 | |
| 172.16.14.0 | R | 172.16.1.2 | 172.16.1.1 | |
| 172.16.15.0 | R | 172.16.1.3 | 172.16.1.1 | |
| 0.0.0.0 | R | 172.16.1.3 | 172.16.1.1 |
あて先IPアドレス欄は、この機器から送信又は中継して到達可能なIPパケットの
最終あて先IPアドレスを示す。
接続形態の柵は、あて先IPアドレスが、ルータで中継せず直接到達可能("D")
であるか、ルータを経由して届くもの("R")であるかを示す。
ルータIPアドレス欄は、
ルータ経由で届く場合(接続形態が"R")において、
最初に中離するルータのIPアドレスを示す。
インタフェースIPアドレス欄は、IPパケットを送信するLAN接続インタフェー
スに割り当てられているIPアドレスを示す。
AIPパケットのルーティングの決定方法
ルーティング対象のIPパケットのあて先IPアドレスをルーティングテーブルのあ
て先IPアドレス欄の上から順に比較し、最初に一致した行の設定に従って処理が行
われる。一致した行の接続形態の欄が、"D" の場合は、そのLAN接続インタフェ
ースから、直接あて先へIPパケットが送信される。"R"の場合は、そのLAN接続
インタフェースから、そのルータヘIPパケットが送信される。
あて先IPアドレス欄中の"0.0.0.0"は、デフォルトルートを表す。つまり、IPパ
ケットのあて先IPアドレスが何であっても一致し、この行の設定に従って、IPパケ
ットのルーティング処理を行うことを示す。
ここでの一致とは、IPアドレスのうちネットワークアドレス部とサブネットアド
レス部の両方の一致を意味する。どの行とも一致しなかった場合は、送信元にエラ
ーを通知する。
B 各機器のルーティングテーブルの設定について
WSは、起動時に静的にルーティングテーブルを設定する。設定内容は、デフォ
ルトルートの設定によって、他ネットワークあてのIPパケットが、固定的に最寄り
のルータに送信されるようにしてある。
FSは、起動時に静的にルーティングテーブルを設定する。FSの利用範囲はS部
内だけであるので、他部へのルーティングは設定していない。
各ルータは、ルーティングテーブルの設定を静的に行っている。S部の外とは高
速ディジタル回線を介して1か所で接続されるので、S部外の機器と通信するため
のルーティングテーブルにはデフォルトルートが設定される。
【S部バックポーンLANの移行について】
FDDI-LANとCC-LANとの併用期間を設け、各課ごとに業務への支障をなるべく与
えない時期に切替えが可能な方法を採用した。
(1)移行手順
(準備期間)
@ 光ファイバの敷設工事、新
ルータの設置などの作業
A FSの定期保守時に、FS内へFDDIインタフェースカードの増設作業
(併用期間)
@ ネットワーク構成の変更
A 必要に応じて機器のルーティングテーブルを設定又は変更
B FDDI-LANの接続確認試験の実施
C 各課の課内LANを順次FDDI-LANに移行
(CC-LANの廃止)
@ 全社ネットワークヘの接続の移行
A CC-LANの廃止に伴い、必要に応じて機器のルーティングテーブルの変更
B CC-LANや旧ルータの利用停止
C CC-LANと旧ルータなどの撤去工事
D FSの定期保守時に、FS内のCSMA/CDインタフェースカードの撤収作業
(2)併用期間における各処理の作業内容の説明
@ ネットワーク構成の変更
FDDI-LANをS部のネットワークに追加し、必要に応じて各機器間の接続を追
加することによって、バックボーンLANとしてCC-LANと併用できるような構成
にした。ただし、この段階では、FDDI-LANはまだ機能させないので、S部ネッ
トワークヘの影響はない。
A 必要に応じて機器のルーティングテーブルを設定又は変更
CC-LANとFDDI-LANを併用して利用できるように、併用に先立ち、必要に
応じて各機器のルーティングテーブルの設定や変更を行った(併用期間中、ルーテ
ィングテーブルは変更しない)。この設定や変更によって、CC-LANに流されたS
部各課の機器あてのIPパケットは、従来どおりCC-LANを通って転送され、
FDDI-LANに流されたIPパケットは、CC-LANを通らずFDDI-LANを通って
転送されるようになる。
B FDDI-LANの接続確認試験の実施
あらかじめ、バックボーンLANの更新を担当しているS-5課が、FDDI-LAN
の接続確認試験を行った。S-5課の1台のWS(WS-501)を試験用に占有した。
WS-501以外のS-5課のWSは、従来どおりCC-LAN経由で利用でき、試験の影
響を受けない。
接続確認試験は、次の(ア)〜(オ)の項目の順に行い、WS-501のルーティ
ングテーブルを必要に応じて変更しながら行った。
(ア)直接接続するFDDIルータ(R-13)との間の動作確認
(イ)上記以外のFDDIルータとの間の動作確認
(ウ)FSとの間の動作確認
(エ)FDDI-LAN経由で、S-1課〜S-4課の任意のWSとの間の動作確認
(オ)FDDI-LAN経由で、S部外の任意のWSとの間の動作確認
ここでの動作確認とは、WS-501と指示された機器間でIPパケットを送受して
動作を確認する試験をいう。
C 各課の課内LANをFDDI-LANに順次移行
各課の課内LANのFDDI-LANへの移行は、各課のWSのルーティングテーブル
の変更によって実施した。まず、S-5課から始め、順次その他の課について移行
を実施した。全社ネットワークヘの接続の変更は、CC-LANの廃止に合わせて行
った。
設問1
S-5課の担当者は、光ファイバケーブルの敷設工事に関して、図3に示すような簡
単な作業指示書を作成したうえで業者に工事内容を指示した。図中の空欄a〜cを補って
完成させよ。a、bはそれぞれ10字以内、Cは30字以内で述べよ。
|
作業指示書 工事名 :S部バックボーンLAN敷設工事
|
図3 光ファイバケーブル敷設工手の作業指示
設問2
FDDI-LANの接続確認試験に関する次の問いに答えよ。
(1)準備期間が終了し、FDDI-LANがS部ネットワークに追加された状態のネットワ
ーク構成を図4に示す。FDDI-LANをS部バックボーンLANとして併用するために
最小限必要なケーブルの接続と、新たに割り当てられたIPアドレスを追加せよ。
(2)併用期間におけるFS、R-11の各機器のルーティングテーブルを表2にならって作
成せよ。
(3)FDDI-LANの接続確認試験の項目として示される(エ)、(オ)の各試験項目にお
ける試験用のIPパケットの通過経路を、記入例にならって記せ。なお、(エ)に関し
ては、S部の任意の課のWSの代表として、WS-101との間の通過経路について答え
ればよい。
記入例
| (ア) | WS-501 | → | [R-13] | → | WS-501 | ||||
| (ウ) | WS-501 | → | R-13 | → | [FS] | R-13 | → | WS-501 | |
注:[ ]は折返し点の機器名を示す
設問3
CC-LANとFDDI-LANの併用期間における課内LANの移行作業に関する次の問い
に答えよ。
(1)S-5課の課内LANを移行させるためには、どの機器のどの設定項目をどのように
変更すればよいのか。設定変更作業を具体的に70字以内で述べよ。
(2)全社ネットワークと接続するための高速ディジタル回線が1本しかないため、高速
ディジタル回線の移行作業中は他部との通信が切断される。
今回の移行手順とは異なり、課内LANの移行と全社ネットワークヘの接続の移行
とを合わせて行う方法が考えられる。この場合、どの課の移行時期に合わせたら業務
に与える支障が最小になるように移行できるか。その課名を挙げ、理由を60字以内で
述べよ。
設問4
移行後の運用に関する次の問いに答えよ。
(1)バックボーンLANの更新によって、バックポーンLANに大きな負荷をかける業務
処理の応答時間の向上が予想されていたが、実際は、向上の度合いにばらつきがあっ
た。会議システムを、S-3課とS-1課の間で接続した場合と、S-3課とS-4課の間
で接続した場合を例として、バックボーンLANの伝送容量以外に応答時間に影響を
与える要因に関し、両方の場合に共通する点とS-4課との接競に特有な点を一つ挙
げ、それぞれ60字以内で述べよ。
(2)FS上のファイルを利用する処理の応答時間が、予想どおりには向上しなかったと
いう苦情が幾つか寄せられた。この原因にはネットワークに起因するものと、FSに
起因するものの二つがある。ネットワークスペシャリストとしてのあなたの経験から、
ネットワークに起因する原因についての調査箇所と調査方法を、具体的に100字以内
で述べよ。

図4 S部ネットワーク構成(準備期間終了時)
設問5
今回のバックボーンLANの更新方法は、併用期間を設け、各課の課内LANを順次移
行するものであった。別の方法として、併用期間を設けず、一斉に移行する方法が考え
られる。一斉に移行する方法における、各機器のルーティングテーブルの変更や設定の
観点からの利点と、それに伴うFDDIルータのルーティングテーブルの設定作業の概要
を、それぞれ40字以内で述べよ。
| Tomのネットワーク勉強ノート |
| |
| |
| |